我们提供安全,免费的手游软件下载!
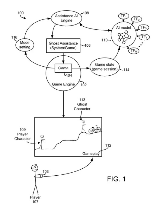
近日,据外媒报道,索尼一项名为“幽灵玩家”(Ghost Player)的专利技术引发关注。该技术旨在利用人工智能,在PlayStation游戏中为玩家提供通关辅助,甚至可以直接代为完成游戏内容。

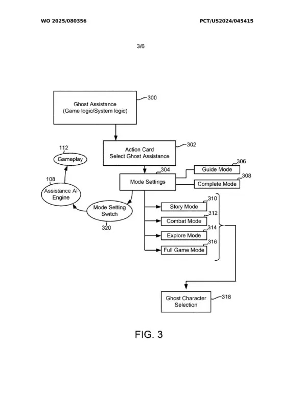
根据世界知识产权组织公布的文件,该系统于2024年9月提交申请。其核心包含两种模式:在“引导模式”下,AI将演示如何通过特定关卡或谜题,再由玩家自行操作;而在“完成模式”中,AI则会直接接管操作,替玩家完成该段游戏进程。
与传统的开发者预设脚本不同,这项技术的AI模型主要通过分析现有的游戏录像进行训练,从而学习玩家行为模式。近年来,游戏内置的辅助功能(如难度调整、谜题提示等)已愈发普遍,索尼此项专利则被视为在此方向上的进一步探索。


不过,专利的公开并不意味着该技术将很快投入实际应用。业界人士指出,游戏公司常会申请大量专利作为技术储备,其中许多未必会最终落地。尽管如此,这项专利仍揭示了AI与游戏交互融合的一种潜在方向,若得以实现,或将为玩家带来全新的辅助体验。
相关资讯
热门攻略
热门资讯